用户工具

站点工具


public:kc-621_machine

产品概述

KC621 86型智能触控面板是一款支持iDste专用物联协议的物联面板设备。它可以通过关联方式来控制iDste物联设备,也可以控制通过RS485接口接入的第三方物联终端产品。经由iDste网关(网关类型设备)接入到iDste赛欧思基础平台(简称“基础平台”),用户可以在基础平台上实时查看其所关联的iDste物联设备或经由RS485接口接入的物联设备状态,也可以远程控制这些关联或者接入的物联终端产品。
产品核心部分主要由触控面板和RF主控部分组成,RF主控部分主要完成接入iDste的物联网络,建立RS485总线与第三方物联设备之间的通信,最终实现对第三方物联设备的访问和管控。触控面板部分主要实现本地控制。

产品外观及硬件接口

产品外观如图一所示:

                                 图一:外观图

产品尺寸如图二所示:

                                 图二:尺寸图

产品接口如图三所示:

                                 图三:接口图

接口定义如下表所示:

接口 说明 接口 说明
L 220V火线接入端口 GPIO-2 GPIO2控制接口
N 220V零线接入端口 485-G 485 GND端口
GPIO-G GND端口 485-A 485A端接口
GPIO-1 GPIO1控制接口 485-B 485B端接口

产品参数

(一)环境温度范围:-10℃ - 55℃
(二)输入电压:AC 220V
(三)有效通信距离:

  1. 无线(开阔环境下):15m。

软件功能参数

软件参数说明:
1、目前已支持的RS485控制器产品型号具体见“产品使用说明”章节
2、支持2路IO输出
3、最大支持30路设备(iDste物联设备+RS485设备)

产品使用说明

软件配置说明

配置物联参数

1、将KC620控制器上电,在该设备15m范围内有网关或具有网关功能的中控设备。
2、使用Sniffer软件搜索区域内需要连接的中控设备或者物联网关设备,如图四所示。

                            图四:Sniffer设备列表界面

3、点击【物联对频】,进入物联对频界面。
4、点击【物联类型设备】,在物联类型设置界面中,根据实际需要设置物联类型和名称,如图五所示。
KC621支持六种物联类型(空调/电源/窗帘/iDste智能灯/单相空开/三相空开)。

                            图五:物联类型设置界面

编辑物联配置:
1、选择对应的物联 ID(2~31),选择物联类型(关联面板)。选择未设置则不使用此 ID。
2、设置对应物联的名称,如“621”。
3、 编辑好物联 ID 后的类型和名称后,即可点击【提交】按钮以保存物联配置
备注:KC621对频的那一路ID的物联类型必须设置为关联面板类型。当对频成功后,默认KC621配置中第一路为对频的那一路(且不可以配置)。用于服务器对KC621的状态显示,显示是否在线。

物联对频接入

1、将物联类型设置为关联面板,在Sniffer软件上选择对应的物联对频ID,使KC621进入对频模式。点击【发现物联并连接】,等待物联设备入网。如下图六所示
对频模式:在KC621屏幕的左上角连续点击6次,当画面跳转到用户设置界面。点击左下角对频后,对频按钮上面显示正在对频,KC621进入对频模式。

                            图六:Sniffer物联对频界面

2、当画面跳转,显示已连接。Link灯颜色变为绿色,则表示物联对频成功。
3、进入KC621升级维护界面和配置操作界面,点击【配置按钮】,可配置具体的第三方设备或设备自身控制等接入网络。每路配置占1个物联ID,配置后的信息将在图框列表中显示,未配置的ID(RFID显示未配置)如下图七所示。

                              图七:未配置界面

物联配置

第三方设备及配置界面

KC621进行配置时,需先了解KC621所支持的第三方设备以及支持配置的类型,如下表所示。对于KC621控制iDste自有物联设备,都要配置为关联,配置过程将物联配置-关联类型设备接入模块说明。

序号 公司名称 产品名称 可配置类型
1 欧米科技 4路继电器 电源
4路窗帘 窗帘
4路调光模块 iDste智能灯
2 速通空开 单相空开 电源、单相空开
三相空开 电源、三相空开
3 宏发股份 单相空开 电源、单相空开
三相空开 电源、三相空开
4 Dooya 杜亚窗帘 窗帘
5 德姆瑞 中央空调控制器 空调

电源类型设备接入和IO控制

KC621可以接入第三方RS485设备(电源类型)进行控电或KC621 IO输出口的电平进行控制。下面先对第三方设备(电源类型)接入配置进行说明,然后对IO配置进行说明。 点击【配置】按钮,进入KC621配置界面。如下图八所示

                                 图八:KC621配置界面图

➢RFID:KC621来接入第三方设备,需要占据一路RFID,未设置物联类型的RFID不显示。
➢物联类型:为物联类型设置中的类型,配置的物联类型列表中的RFID和物联类型对应匹配,当前支持的物联类型包括空调、电源、窗帘、单相空开,三相空开、iDste智能灯。
➢连接方式:选择物联类型后。连接方式才可以进行选择,KC621控制器可连接控制的设备,包括RS485设备、IO输出、RS485空调集控网关、关联iDste设备(关联表示连接iDste设备,iDste设备需要单独对频使用)等
➢波特率:设置KC621与第三方设备的通讯速率,按实际第三方设备的波特率进行配置。
➢校验位:接入的第三方物联设备数据通讯的校验方式,无校验/奇校验/偶校验,需查看第三方设备支持的数据校验方式。
➢RS485厂商:接入第三方RS485设备的厂商,欧米科技/速通设备/宏发股份/杜亚科技/德姆瑞可选择。按实际需要接入的第三方设备进行配置。
➢RS485产品:选择对应的厂商后,RS485产品列表可选择,按实际接入的第三方产品进行选择。
➢RS485地址:选择485设备的通讯地址,取值范围为1~32路可选择。需查找第三方设备的485通讯地址,第一路对应485设备地址为1,第二路对应485设备地址为2,依次对应。
➢RS485子地址:按照实际的第三方设备进行配置(对于欧米4路继电器和4路窗控模块,都有4个控制通道,第一路对应控制通道1,依次对应,按实际需要控制那个通道就配置那一路)。

举例:对KC621接入速通空开(485地址为:3,RFID:3,波特率为:9600,校验位:无校验)配置如图九所示,点击【提交】后。完成KC621对第三方速通空开设备的接入。可以控制速通空开进行控电。其他电源类型的第三方设备接入类似,请查看KC621支持的第三方设备表,修改配置中的厂商和产品,填写正确第三方设备的参数(485地址,波特率等)。

                             图九:速通空开(电源)配置图

➢IO配置:KC621支持对IO口的配置,对自身IO口的电平输出控制。连接方 式选择为IO输出,物联类型为电源。
➢IO地址:分为第一路和第二路,第一路即为KC621的硬件接口IO1进行配 置,第二路及对KC621的硬件接口IO2进行配置。
➢IO开电平极性:将配置的IO(电源类型)打开后的电平状态。
➢IO初始状态:KC621上电时,IO的状态。
举例:将ID5(电源类型)配置为第一路IO配置为IO1打开时为低电平,IO 配置如图十所示:

                             图十:第一路IO配置

空调类型设备接入

空调类型设备接入和电源类型设备的接入相似,连接方式:RS485空调集控网关。需要填写集控网关的地址、波特率、内机地址(指的是中央空调内机的地址, 可以在中央空调集控网关屏幕上面看到内机地址),控电类型可以选择为不控电(通 过发码(有线的方式)去控制中央空调的打开和模式切换,不控制中央空调的电)或 RS485控电(是空开配合中央空调集控网关的中央空调控制方案,空开负责对 中央空调电源的控制,中央空调集控网关控制空调的打开和模式的切换),IO控电 (和RS485控电类似,KC621在控制中央空调集控网关的时候会去控制IO输出 口的电平)按实际配置即可。中央空调集控网关是一种RS485设备,当将中央 空调集控网关的配置好后,需要配置对应的命令码去控制中央空调集控网关切换空调内机的模式或关闭。
配置针对中央空调集控网关使用的特殊说明:
KC621挂载中央空调集控网关时,由于空调内机的开启关闭具有特殊性, 在逻辑上做了特别处理。
1、当基础平台通过KC621对中央空调内机进行模式控制时(模式控制隐含 了打开空调内机),逻辑上只通过判断内机状态为开启即代表KC621模式执行成 功(此时中央空调内机的具体模式以实际为主,取决于中央空调内机收到线控面 板与KC621的模式控制的先后顺序)。
2、如果在KC621模式控制后检测到空调内机的状态仍然为关闭状态(认为 通过KC621对中央空调内机的控制失败),KC621会重新发送模式控制指令到中 央空调网关直到内机处于打开状态为止,故此期间在线控面板的操作将无效(因 为KC621重新发送的模式控制命令会覆盖线控面板的命令)。总的来讲,在中央 空调处于关闭状态时,KC621对中央空调内机的模式操作相较于线控面板操作, 其拥有绝对的控制权。
因此,KC621对于线控面板的状态同步仅是开关状态的同步
1、当KC621模式控制成功后(中央空调内机开启后),KC621将放开线控 面板对空调内机的控制操作(即面板端可进行异步独立的操作控制)。
2、若线控面板端进行了关机操作,则KC621同步到关模式并上报到iDste 融合系统。
3、若线控面板端在KC621端中央空调内机处于关状态时进行了打开内机 的操作,KC621下对应中央空调内机状态将同步到上一次开模式(模式1到模 式4)。
举例:速通空开(485地址为:2,波特率为:9600,无校验)控制中央空调的电 源,中央空调集控网关(485地址为:2,波特率为:9600)控制中央空调内机(地 址为:0)的打开关闭和模式切换。需要用其他第三方设备控制中央空调的电源, 需对RS485控电部分按照实际的第三方设备参数进行配置。如图十一所示

                               图十一:中央空调集控网关配置

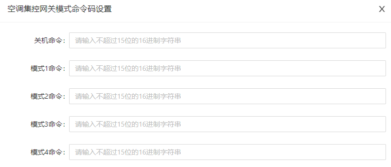
在KC621的配置界面,点击【空调命令码】的按钮后,配置中央空调集控网关命令码,将对应的关机或模式和对应的中央空调集控网关的命令码进行绑定,KC621可通过发中央空调集控网关的命令码去控制中央空调集控网关,进而去控制中央空调。如下图十二所示
➢关机命令:查找中央空调集控网关协议上面对应的关机命令,将关机命令和关机按钮进行绑定。
➢模式1到模式4:查找中央空调集控网关协议上面命令码,将对应的模式和中央空调集控网关的模式命令进行绑定。

                                图十二:中央空调命令码配置

点击【空调运行参数】,对中央空调的控制进行配置。如下图十三所示
➢开机延时:延时发中央空调开机码的时间。
➢关机延时:延时发中央空调关机码的时间。
➢开机发码次数:对中央空调进行打开,发中央空调开机码的次数。
➢关机发码次数:对中央空调进行关闭,发中央空调关机码的次数
➢模式切换发码次数:中央空调进行模式切换时发模式切换码的次数。

                                 图十三:空调运行参数配置

窗帘类型设备接入

窗帘类型设备接入和电源类型设备接入相似,但窗帘类型设备的配置列表会多一配置项:窗帘开关延时的配置。
➢窗帘开关延时:设置杜亚窗帘或欧米的窗帘模块打开或关闭的时间 举例:配置杜亚窗帘(485地址为:3,波特率为:9600,校验位:无校验,窗帘开关延时:10秒),如下图十四所示

                                 图十四:杜亚窗帘配置界面

点击【提交】,提交成功后,在物联通道设置可以看到配置杜亚窗帘

关联类型设备接入

将iDste物联设备对频到某一路ID上面,在KC621的配置界面,点击配置后,选择正确的物联类型(按实际挂载的iDste物联设备对频的物联类型为准),连接方式选择关联iDste设备,点击保存。
举例:将id为:4的602(电源类型)关联到KC621上面,配置如下图十五所示

                                 图十五:关联类型配置


序号 产品名称 对频类型
1 空调控制器(KC601) 空调
2 三路电源控制器(KC602) 电源、空调、窗帘
3 单火版86型控制盒(KC613) 电源、窗帘
4 KC612 电源

空开和智能灯类型设备接入

KC621支持的空开是速通空开和宏发空开,是第三方RS485设备,配置和电源类型设备配置类似,需将ID的物联类型改为单相或三相空开(看实际空开的类型是三相空开还是单相空开)。
举例:速通空开(RFID:3,485地址:2)的单相空开类型配置如下图十六所示

                                     图十六:单相速通空开配置

iDste智能灯设备接入:接入欧米的调光模块去控制LED灯调节亮度,以25%的步长调节亮度。物联类型配置为iDste智能灯,RS485厂商选择欧米调光模块。 举例:通过控制欧米调光模块(RFID:4地址为1)的第一路去调节亮度,以25%的步长调节亮度,使用用欧米调光模块的其他通道,需要将RS485子地址进行修改,如使用通道2,将RS485子地址改为第二路即可。如图十七所示

                                     图十七:iDste智能灯配置图

UI配置说明

云端进行UI模板配置

在上述KC621配置了对应的配置后,需要在云端配置对应的UI和所配置的(物联类型)绑定后,将生成的Json文件通过Sniffer成功导入后,才能进行通过KC621面板进行控制对应的物联。
UI界面配置:最大支持9个场景配置以及16个物联类型Tab展示,每个Tab组最多绑定8个RF设备。
云端模板配置网址为:
https://cloud-dev.idste.net/console/layout/devops/deviceSetTemplate
配置步骤:详见云端模板配置web “帮助文档”。
完成应用场景UI配置后,可在UI配置界面生成KC621所需的UI配置Json文件。

UI配置文件导入

将云端生成的UI配置Json文件通过Sniffer导入到指定的KC621中,进入KC621的配置界面,点击右上角的UI配置,选择对应的Json文件。导入成功后,KC621界面的UI会自动更新。UI导入界面如图十八所示

                              图十八:UI导入界面

KC621公版固件UI基本简介

(1)KC621 场景和分类控制
整个KC621公版UI控制设计以场景控制、分类集中控制为主。 如图十九所示,每个UI Tab为一个同物联类型设备组,UI Tab的控制为对该物联类型组的批量控制,当Tab组只配置一个物联设备时,该Tab控制即为对该物联设备的单控。
如图二十所示,KC621首页可配置为场景页。每个场景所关联的最小单元为分类控制中物联Tab组,即场景控制为对分类控制下的物联Tab组的批量控制。

                             图十九:KC621分类控制UI

                             图二十:场景UI图

(2)Tab支持的标准iDste物联类型及相关控制逻辑
空调:off、mode1、mode2、mode3、mode4
电源:off、on
窗帘:close、open、stop
智能灯:off(亮度0%)、on(亮度100%)、亮度加减调节(步长可配置)
单相智能空开:off、on
三相智能空开:off、on
插座:off、on
iDste智能灯:off(亮度0%)、on(亮度100%)、亮度加减调节(步长固定25%)
(3)自定义类型
自定义类型的分类集中控制主要是对于需要使用标准物联类型的控制逻辑来控制特殊设备,如利用空调的控制逻辑来控制一体机的开关和通道切换。自定义类型支持的标准物联类型包括空调、电源、窗帘。
电源:off、on(控制名称可自定义配置)
窗帘:close、open、stop(控制名称可自定义配置)
空调:off、on、4个模式

关于自定义空调类型,关闭和打开和四个模式的名称、布局位置、显示个数可自定义配置;其中特殊的打开按钮可配置绑定的模式。
按钮逻辑说明:
(1)无论如何配置:off、mode1、mode2、mode3、mode4 5个按钮始终互斥; off、on 两个按钮始终互斥
(2)“name_on”为空:即在云端不勾选“模式打开”没有打开逻辑,即off按钮高亮时,模式按钮可以点击。云端配置如图二十一所示

                            图二十一:云端配置图

(3)“name_on”不为空:
即在云端勾选“模式打开”,云端界面图如图二十二所示,打开有打开逻辑,即off按钮高亮时,模式按钮不能点击,必须先点击on按钮(on按钮高亮)后,才可点击模式按钮;on按钮高亮时,on按钮点击失效,此时进行模式切换,on按钮始终保持高亮,只有再次点击off按钮,on按钮才会低亮显示并且恢复点击使能。
a.“name_on”不为空且“on_bind_mode”绑定为0:只有打开逻辑;点击on按钮时,不会触发任何模式控制(不会给单片机发码控制)。
b.“name_on”不为空且“on_bind_mode”绑定为1~4:有打开逻辑;同时点击on按钮时,会触发绑定的模式控制。例如绑定模式1,点击on按钮时,屏幕会向单片机发送模式1的控制指指令。

                            图二十二:云端模式勾选图

云端配置模式1名称为空,其他名称不为空;打开按钮绑定模式1,则UI不会显示模式1按钮,有打开逻辑,点击打开按钮实际触发模式1事件。KC621面板上面的UI如图二十三所示。

                            图二十三:KC621自定义Tab类型UI1

云端配置打开按钮名称配置为空(不做配置),则UI显示上不会显示打开按钮,控制按钮之间的逻辑和标准空调一样,off、mode1、mode2、mode3,4个按钮状态互斥。KC621面板上面的UI如图二十四所示。

                            图二十四:KC621自定义Tab类型UI2

(4)按钮状态说明
首页的场景按钮只有触发操作,点击对应的场景按钮来触发场景事件的执行,根据配置的时序来执行物联操作,如果有延时,对应的场景按钮将高亮显示,同时左上角有加载动画提示正在执行此场景,直到延时结束,在延时过程中点击其他的自定义场景无效,且不能翻页。如图二十五,为正在执行全部关闭模式。

                            图二十五:KC621场景正在执行状态

Tab页面的集中控制按钮与首页的执行状态相似,执行过程中若有延时,按键左上角有加载动画提示正在执行此操作。区别是延时结束后,Tab页面会有状态的高亮显示,代表此Tab组中所有RFID当前的物联状态。
(5)设备离线禁用状态说明
首页的场景按钮可以绑定不同类型的物联设备,所以对于场景按钮来说没有离线、禁用状态。
离线禁用状态在每个Tab界面中会有显示。同一个Tab控制页中所绑定的所有物联设备全部离线时,Tab页面会显示离线状态;同一个Tab控制页中所绑定的物联设备中任意一个被禁用时,Tab页面会显示禁用状态;离线或禁用状态下,此Tab页面的控制按钮点击失效。
离线、禁用状态的显示为“图标+文字”的方式,文字根据语言配置自动切换中英文。如图二十六。

                            图二十六:KC621离线禁用状态

(6)设置页面使用说明
此界面用于面板的升级、调节面板当前亮度、设备对频以及获取UI等功能。如图二十七所示。从主界面左上角连续点击6次会进入设置页面,在设置页面点击退出会回到主页面,在设置界面连续1分钟不操作屏幕会自动跳回主界面。
Link状态显示:在此页面的左上角有一个Link灯,用于显示本机设备与中控的连接状态。与中控连接时,Link灯为绿色常亮,未连接时,Link灯为红色常亮。
b. 亮度调节:用于显示当前屏幕的实际亮度,也可以通过滑动进度条来调整当前的屏幕亮度,调节范围为1~100。调节后的亮度会掉电保存。
c. 待机亮度调节:在主页面中,长时间不操作屏幕,是否会进入待机模式,在此处可配置。选择不支持,待机亮度的进度条不可滑动,且屏幕的亮度始终不变;选择支持,通过滑动进度条来设置待机时的屏幕亮度,在长时间时间(这里是1分钟)不操作主屏幕的情况下,主屏幕会把亮度自动调节到配置的亮度,直到再次触摸屏幕后恢复亮度。此配置也会掉电保存。注意:1.待机模式过程中按键状态更新后,不会立即显示最新的状态,直到唤醒屏幕时才会更新。2.如果自定义场景的延时时间(闪烁时间)大于进入待机模式的超时时间(1分钟),那么触发了自定义场景后,会等待自定义场景延时结束后才会进入待机页面。
d. 点击对频:点击按钮,设备进入对频模式,按钮高亮显示“正在对频…”,对频成功后3秒内,高亮显示“对频成功”,之后恢复到低亮显示“点击对频”。若一直未对频成功,30秒后恢复低亮显示“点击对频”。
e. 点击升级:用于屏幕界面的升级而非设备的升级。插入有升级文件的SD卡后,点击此按钮或直接断电重新上电,等待升级成功即可。
f .点击获取UI:点击后会进入UI文件接收界面,重新获取并更新UI布局。

                             图二十七:KC621设置界面

(7)支持Link图标显示
Link图标变化用来表示KC621是否与中控或网关设备连接的连接状态,当KC621与中控或网关设备已连接,Link图标的状态如下图二十八所示

                              图二十八:已连接

当KC621与中控或网关等设备断开连接时,Link图标的状态如下图二十九所示

                              图二十九:断开连接图

(8)版本号和UI版本号显示
set页面底部增加了当前 KC621_panel(UI)版本号和KC621版本(APP/IAP),如下图三十所示。当使用Sniffer进行升级的时候,升级失败会进入IAP模式,会自动显示IAP的版本号,使用时需要注意KC621和UI版本号的匹配。

                              图三十:版本号显示图

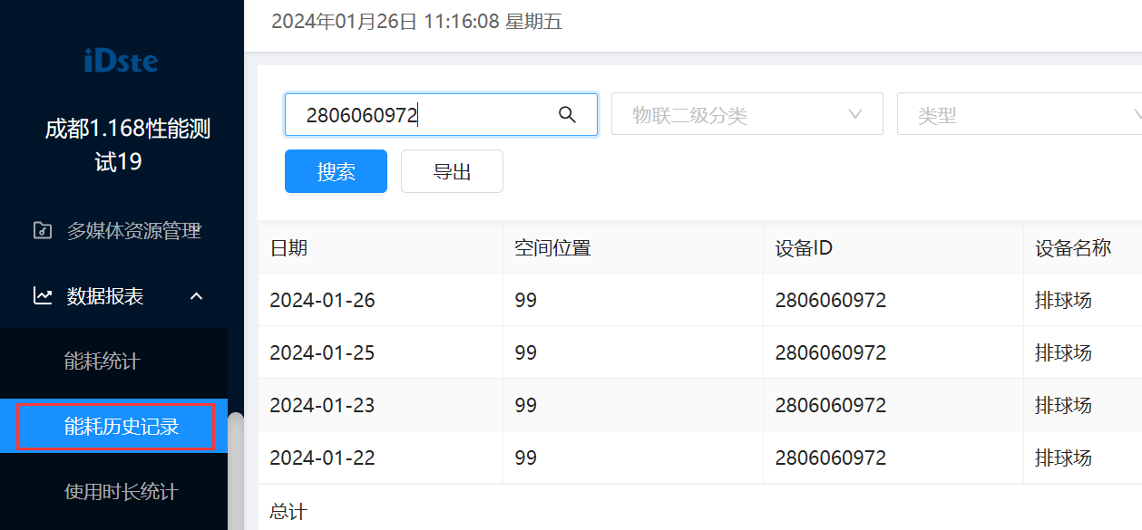
能耗上报

KC621支持速通空开和宏发空开,欧米继电器能耗上报。
空开外接负载,当空开的状态为打开。KC621会隔一段时间查询空开的能耗,进行上报。可以在基础平台的数据报表-能耗历史记录看到所上报的能耗值。如图三十。

                                图三十:能耗历史记录图

注意事项

使用注意事项

1、对接入KC621的RS485设备的RS485地址不能重复,使用相同地址可能会导致控制异常。使用的485设备的 地址一定要正确,否则不能控制。
2、KC621新增的物联类型和物联类型设置的RFID的类型必须保持一致。
3、使用Sniffer版本、中控网关版本、必须要和KC621固件版本匹配。
4、通过Sniffer进行固件升级,使用upgrade_dbg.bin文件进行升级。
5、云端配置UI上的RFID类型必须与Sniffer配置RFID类型一致。
6、只有进入对频ID的配置界面才能进行固件升级。

版本匹配要求

1、必须配合服务器 R08.06.00 及以上版本 。
2、必须配合中控 R08.06.00 及以上版本 。
3、必须配合SniffApp V08.12.00 及以上版本 。
4、必须配合KC100 R08.06.00 及以上版本 。
5、必须配合TM03 R08.06.00 及以上版本 。
6、必须配合NC03 R08.06.00 及以上版本 。

运维注意事项-软件固件升级

当您需要升级KC621的固件时,需要按以下步骤进行操作升级:
1、将电脑连接到与中控或网关同一子网中,在电脑上使用sniffer软件搜索相应的中控或网关设备。
2、找到KC621相关的中控或网关,点击【物联对频】按钮。
3、再找到对频的物联ID,点击【连接物联】。进入KC620的配置界面如下图所示。
4、在固件升级模块,点击【选择文件】按钮添加相应的升级文件,点击【开始升级】按钮,等待出现升级成功的提醒,表明已经成功升级。

参考链接

public/kc-621_machine.txt · 最后更改: 2025/09/09 11:10 由 idstewiki